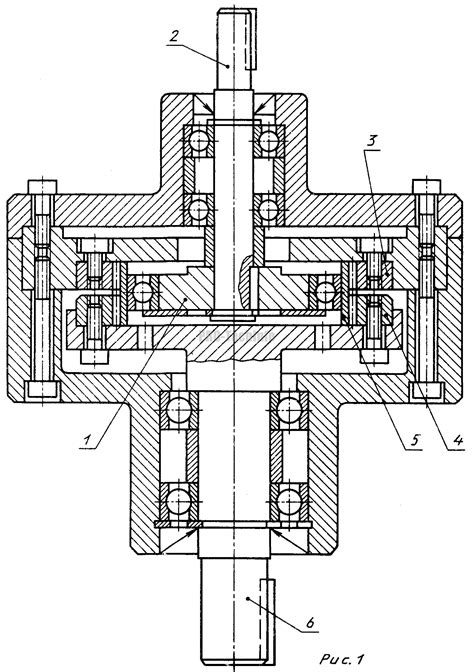
Кинематические схемы редукторов | PRO-TechInfo
Трещетка 1/2 ТЕХМАШ приобрести по доступной цен...
Пневмо Трещетка - купить с доставкой по выгодны...
Трещетка тормозная автоматическая регулировочна...
Что такое трещотка инструмент
Трещетка натяжения тента Крон квадрат левая A31...
Трещетка универсальная SAF механическая Ø38 мм ...
Как выбрать трещотку — РИНКОМ
Трещетка для автомобилей Скания 4 и 5 автомат з...
Ротационная трещотка на 1/2" HANS 4138G - выгод...
Трещетка автомат для автомобилей Скания 4 и 5 с...
что такое трещетка ключ
Трещотка HOEGERT TECHNIK 1/2, 72T, сталь CrMo, ...
Что такое трещетка на велосипеде
Маленькая трещетка — купить по низкой цене на Я...
Трещетка с быстрым сбросом Hans 3/8" 3120GQ - в...
Трещетка Shimano TZ500, 7ск, 14-34, с защитой ц...
Трещетка на круглую трубу купить в Спб доставка...
Рычаг регулировочный(трещетка) 2ПТС-4, 2ПТС-6: ...
Трещотка с реверсом 1/2" 24 зуба 5727910
Трещетка тормозная задняя SITRAK T5G,C7H мост M...
Чем отличаются трещотки на примере 3 разных мод...
Для чего трещотка на шуруповерте? И как им поль...
Трещетка 1/2" укороченная, L 135 мм, 45 зубцов,...
Что такое трещетка ключ
Трещетка с храповым и быстросъемным механизмами...
Редуктор и мотор-редуктор с коротким гибким кол...
Купить Отвертка механическая, трещетка за 19000...
Трещетка BPW Euro-achse механическая 7 отв в 2 ...
Трещотка 72-зубцовая с резиновой рукояткой (1/4...
Трещетка, реверсивная, с резиновой ручкой купит...
Трещетка с квадратом 3/8"(L-200mm; 8град) - куп...