Купить Переключатель включения/выключения, одно...
Выключатель с датчиком движения купить Киев Укр...
WOLPART SHANGHAI QIJIA R11 An-/Aus Wippschalter...
Скупаем реле на лом
Europa R11R24A3PDT Octal Relay 24V | EWS Electr...
Обзор и демонстрация работы реле напряжения вил...
Акустический выключатель - Справочник - Radio э...
Клавишный круглый выключатель REXANT 250v 6а (3...
R11-8 Wippschalter 4Pin 250V 16A Schalter
R11-8 Wippschalter 4Pin mit Abdeckung 250V 16A
Экраны, ограждения, зашивки радиаторов отоплени...
r11-2012
Одновібратор на операційному підсилювачі
Купить новое поступление 8 банды кулисный перек...
Выключатель нагрузки аккумулятора - разрядное у...
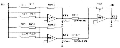
Описание лабораторной установки.
Купить выключатель питания 12V 8-канальный ради...
Выключатели
R11-8 R11-82 R11-821 250VAC T125 IP55 Interrupt...
Przekaźnik czasowy Schneider Electric RE8RA11B
Розділ 8. Рульове управління
КНОПКИ
1 PCS SCI R11-8 Power On Off Rocker Switch 4 Pi...
Berker R.8 strömbrytare | Produkter, Sticka, St...
Разъем N-111C/8D (вилка, обжимной, цанга) | GSM...
Разъем 1 шт. N-111/8D N-male обжимной, на кабел...
Двухканальный вольтметр на ATmega8
R11-8 Rocker Switch,16a Rocker Switch 250v T125...
Выключатель R11-8 T125 16(12)A 250VAC для мойки...
Переключатель трехпозиционный (ON)-OFF-ON 12В/1...
R19-20BBBT-G, Выключатель клавишный 6А 250В ON-...
Быстрый ремонт импульсного блока питания