Подключение трехфазного двигателя » BigPicture.ru
Схема подключения трехфазного электродвигателя ...
Как Подключить Трехфазный Двигатель На Две Фазы...
Защита от потери возбуждения
Защита 3-фазного двигателя от потери фазы - You...
Схема защиты электродвигателя
Схемы автоматической релейной защиты трехфазног...
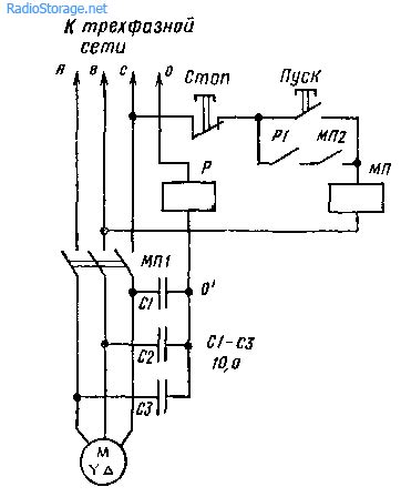
Защита трехфазного электродвигателя • HamRadio
Китай Индивидуальные 3-фазные устройства защиты...
Трехфазное Напряжение из Однофазной Сети за 3 м...
Tool Electric: Защита трёхфазных нагрузок от пр...
Подключение трехфазного двигателя к трехфазной ...
Токовая защита двигателей ТЗД-3Ф-100 для защиты...
Купить ЭЛЕКТРОННЫЕ РЕЛЕ ЗАЩИТЫ ДВИГАТЕЛЯ, ПОТЕР...
Защита трехфазной нагрузки от пропадания фазы |...
Изображение
Проект двигательной установки жидкостного ракет...
Схема 3х фазного двигателя - Схемы
Пластиковая защита двигателя — Mazda 3 (3G) BM,...
Схема 3 фазного двигателя - Схемы
Мощность трехфазного двигателя - Всё об электри...
Как можно запустить трехфазный двигатель от одн...
Схемы автоматической защиты трехфазного двигате...
Как выбрать защиту для электродвигателя?
Электрические аппараты защиты трёхфазных асинхр...
Автомат защиты двигателя ТЗД-3Ф-100
Чому трифазні мотори стали такими популярними? ...
1.6 Защита электродвигателей
Автоматическая защита трехфазного двигателя при...
ТРИ ФАЗЫ - БЕЗ ПОТЕРИ МОЩНОСТИ | NiceTV