ИБП инвертор 3000 Вт Чистая синусоида Инвертор ...
Инвертор преобразователь 3000w с 12v на 220v чи...
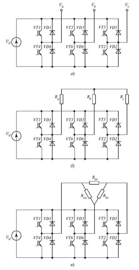
Трехфазные инверторы напряжения, Импульсы длите...
2 Трехфазные инверторы напряжения
Китай Индивидуальные инверторы мощностью 3 кВт ...
ТРЕХФАЗНЫЙ ИНВЕРТОР
Инвертор для котла с чистой синусоидой преобраз...
Инвертор 3 кВт - купить в Мир Станков за лучшую...
Инверторы
Якісний інвертор на 3 кВт, після вилки-вилки. Н...
Инвертор с зарядным устройством 3000Вт купить д...
Инвертор для котлов/насосов/3000w/Чистый синус/...
6 лучших гибридных солнечных инвертора - Рейтин...
Купить 4кВт инвертор 220 в однофазный вход трех...
Автономный инвертор напряжения с синусоидальным...
13. Инверторы. Общие сведения, принцип работы, ...
Купить Инвертор Инверторные Сплит группа в инте...
Купить Инвертор Трехфазного инвертора 2. 2кВт м...
Сравнение 3 кВт гибридных инверторов с инвертор...
Китай Индивидуальные низкочастотные инверторы м...
Инвертор с зарядным устройством 3000Вт для авто...
Китай Индивидуальный двунаправленный инвертор П...
Гибридный инвертор с автономным питанием по инд...
Инвертор на 3 кВт 12в в 220в купить в Санкт-Пет...
Инвертор FCHAO 3000Вт чистый синус для автодомо...
Миниатюрный инвертор мощностью 30 кВт — Хакер
Трехфазный мостовой инвертор, ведомый сетью - И...
Китай Индивидуальные солнечные гибридные инверт...
Инвертор 3000W 12V на 220V с зарядным устройств...
Китайские индивидуальные инверторы для солнечны...
3000W hybrydowy inwerter słoneczny 3KW 24V 220V...
ПРОСТОЙ ДВУХТАКТНЫЙ ИНВЕРТОР
Инвертор 36 220 чистый синус 1500W(3000W) - Дет...