Устройство выхлопной системы автомобиля
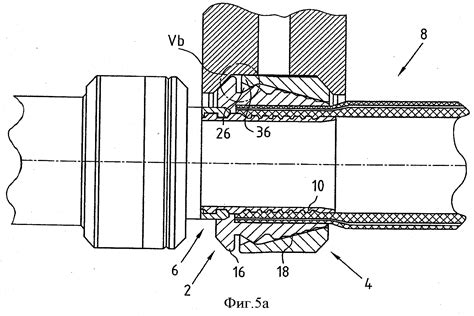
Соединение выхлопной трубы / REDUCER АРТ: 134-0...
Соединение канализационных пластиковых труб: лу...
Новости :: Соединение металлических труб
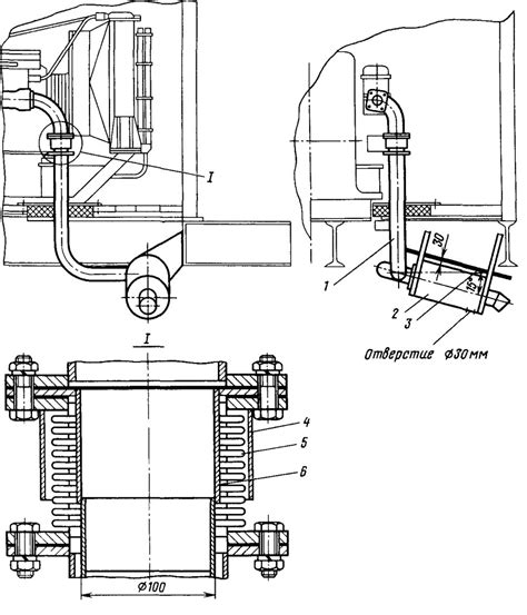
Выхлопная система дизель-генератора снегоубороч...
Трубы ТЕХСТРОЙ СВТ
В каких трубопроводах применяют штуцерное соеди...
Пластиковая топливная трубка. Ремонт соединения...
Варианты соединений и метода монтажа канализаци...
самодельная выхлопная труба иж - YouTube
Крепление выхлопной трубы. — Nissan Almera Clas...
Выхлопная система автомобиля: схема, устройство...
4.6 Соединение пластмассовых труб
Соединение систем отопления и водоснабжения | Ш...
Как устроена выхлопная система?
Соединение труб: виды, способы и технология
Выхлопная труба - Конструкции - Здания и сооруж...
Как выбрать приемную трубу выхлопной системы | ...
Варианты соединения труб » Строительный онлайн-...
Выхлопная труба | НашеАвто
Наличие товара Соединение трубок воздушной сист...
Магазин автозапчастей Москва и Харьков - Детали...
Трубы для шламопроводов | ООО «Завод Спиропласт»
Как соединить вентиляционные трубы между собой ...
Соединение труб: главные способы и преимущества...
Соединение труб нержавеющими фитингами
Фланцевое соединение труб - Энциклопедия по маш...
Заменитель прокладки приемной выхлопной трубы н...
Вихлопна труба на глушник | Труби до вихлопної ...
Соединение труб & подключение труб & замена тру...
Алюмінізована труба пряма | Труби до вихлопної ...
Выхлопная система ВАЗ 2115, 2114, 2113: схема, ...
Фланцевое соединение труб. - YouTube
Соединение труб — Рipe connection