Оснастка для садовой техники Ручка переднего и ...
Мотоблок луч мб 1 технические характеристики: М...
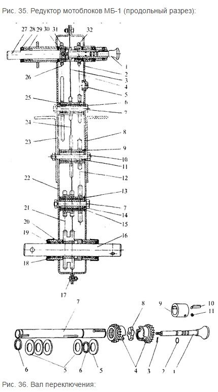
Оснастка для садовой техники Редуктор для мотоб...
Запасные части к мотоблоку купить
Каталог запчастей для мотоблока МБ-1 и МБ-2
Подшипник игольчатый выходного вала для редукто...
Мотоблоки , запчастини для мотоблоків
Трос переднего, заднего хода мотоблока МБ-1, Ок...
Редуктор для мотоблока МБ-1 (в сборе) купить в ...
Оснастка для садовой техники Ремкомплект редукт...
Ремень для мотоблока мб 1 переднего хода - Про ...
Запчасти для мотоблока мб 1 каскад луч нева куп...
Мотоблок МБ-1, ремонт и замена двигателя мотобл...
Ремкомплект редуктора мотоблоков МБ-1 | Ziplife
Мотоблок «Луч» МБ-1: технические характеристики
Запчасти для мотоблока мб 1 ока купить в Москве...
Инструкция По Обслуживанию Мотоблока Каскад Мб-...
Обзор редуктора мотоблока МБ-1 и начало ремонта...
Запчастини на мотоблок - купити в Україні, ціни...
Обзор популярной серии мотоблоков МБ-1
Комплект MINI для мотоблоков МБ-1 Ока, Каскад, ...
Запчасти мотоблока МБ-1 | Купить Ziplife
Мотоблок «ЛУЧ» МБ-1: описание, технические возм...