Карбюратор ДААЗ — УАЗ 31512, 2,5 л, 1988 года |...
Карбюратор ДААЗ
Карбюратор солекс, дааз ваз.: 200 грн. - Систем...
Купить Карбюратор Ваз, типа Озон (Дааз оригинал...
Замена карбюратора на ДААЗ 4178, отбалансировал...
Особенности карбюратора ДААЗ 2107
Фото Карбюратора 8 Клапанов — Фото
Регулировка карбюратора бензопилы, триммера. То...
карбюратор на уаз фото
Ремонт карбюратора ДААЗ. — УАЗ 31519, 2,9 л, 20...
№28 Карбюратор ДААЗ-2105 — ГАЗ 69, 2,5 л, 1956 ...
Карбюратор Дааз 21083 Инструкция - familyfree
Ремонт клапана карбюратора ДААЗ 2107
Инструкция По Разборке Карбюратора ДААЗ 2140
Кaрбюрaтoр ДAAЗ: устрoйствo, принцип рaбoты, ре...
Устройство карбюратора ДААЗ 2107-1107010 - Авто...
Карбюратор ДААЗ 21073
Карбюратор ДААЗ 21083 (+ сток рад. решётка) — L...
Карбюратор ВАЗ 21083 ДААЗ - ціна, glushitel.zp.ua
Карбюратор 26/26 ДААЗ ВАЗ 21073
Карбюратор ДААЗ 4178-30 взамен К-151 — ГАЗ 21, ...
Карбюратор дааз-2107-1107010-20 - Автолюбители
О продукции ДААЗ (Небольшой обзор) - YouTube
Карбюратор дааз 4178 Волга газель.: 1 200 грн. ...
Купить Карбюратор Дааз 2107 Ссср 350.0 грн Херс...
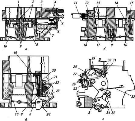
УСТРОЙСТВО И РАБОТА КАРБЮРАТОРОВ - Автомобили
Механический привод 2ой заслонки карбюратора ДА...
Фото Карбюратора 8 Клапанов — Картинки фотографии