ST7567 Which constructor to use among three tha...
Lcd 128x64 spi st7567a - Displays - Arduino Forum
128*64 Character LCD Display ST7567 Module lcd ...
High-Contrast-128X64-DOT-Matrix-Module-St7567-S...
ST7567 datasheet(16/49 Pages) SITRONIX | 65 x 1...
LCD ST7567 - OSHWLab
ST7567 – Midas Components
ST7567 SPI LCD display support · Issue #104 · k...
GitHub - l0086020/LCD-ST7567-Drive: 1.2``LCD Di...
ST7567 LCD Graphic Display — ESPHome
ST7567 Datasheet(PDF) - List of Unclassifed Man...
LCD ST7567 - Platform for creating and sharing ...
Buy Wholesale China St7567 Drive Ic Controller ...
ST7567 LCD (JLX12864G-1509) Contrast · Issue #3...
Greatbuy No Pcb St7565r Or St7567 Drive 3.3v Po...
GitHub - mithunkamat/ST7567-driver: A driver th...
Sitronix ST7567 | PDF | Liquid Crystal Display ...
ST7567 128x64 LCD demo and library examples - Y...
How to interface ST7567 display with Arduino
LCD COG For An Arduino Nano Steps Instructables...
ST7567 Datasheet(PDF) - Sitronix Technology Co....
ST7567 datasheet(35/49 Pages) SITRONIX | 65 x 1...
ST7567 datasheet(36/49 Pages) SITRONIX | 65 x 1...
ST7567 datasheet(19/49 Pages) SITRONIX | 65 x 1...
ST-7267 - Inter-Tech Elektronik Handels GmbH
GitHub - cbm80amiga/ST7567_FB: Fast SPI graphic...
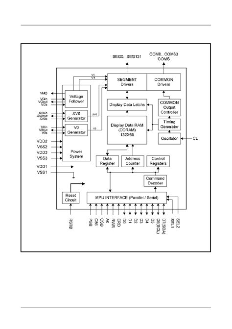
ST7567 datasheet(7/49 Pages) SITRONIX | 65 x 13...
128x64 Graphic LCD Display ST7567 Controller FSTN
ST7567 datasheet(2/49 Pages) SITRONIX | 65 x 13...
ST7567 Datasheet PDF - Unspecified
ST7567 datasheet(3/49 Pages) SITRONIX | 65 x 13...