Самогонный аппарат РКД-20 с доставкой по России...
Купить РУЧНОЙ краскопульт малярный УЛИГ, КРДП-4...
Пуск РН Днепр (РС-20) с КА "РепидАй" - YouTube
Коли ф.№20-ОПП є підставою для автоматичного ск...
Кран КРДП Ду 20 (11б25бк), цена в Перми от комп...
АПНУЛ 20 КД💀 - НАШЕЛ ЗАПРЕЩЕННУЮ СТРАТЕГИЮ! - Y...
Кран КРДП Ду 20 Ру 10 пробковый проходной двойн...
РСДН-20 — Википедия
КР-20 : Видавництво "Фаріон"
Передвижной КДП
РСМД :: 20-летие Договора о добрососедстве, дру...
Кран двойной регулировки муфтовый (аналог КРДП)...
KRP20-02 - DTS VIETNAM
Продам РУЧНОЙ краскопульт малярный КРДП-4, СО-2...
Избежать ШТРАФА по Ст. 20.20 КоАП РФ совет эксп...
KRD – 20 lat i 375 milionów pobranych raportów ...
Пистолет топливораздаточный РКТ-20 – Оборудован...
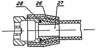
Купить Кран регулирующий КРДП-20 двойной регули...
КЦД 20 Купить колодезные кольца с дном Размеры ...
Крдп - YouTube
20 фотографий из КНДР, которые не должны были п...
Крышки колодезные ПП 20 Цена вес диаметр ГОСТ с...
срдп 20 - Сборно-разборное дорожное покрытие. И...
КЦД 20-10 (Кольца колодезные с днищем) — ПроЖБИ
Кран КРТП (КРДП) Ду20 Ру16 купить от 400 до 550...
Гидроклапан-регулятор КР20-25 купить в Челябинске
Конструктивные особенности котлов ДКВР-20