Разборка и сборка амортизаторов МАЗ – Капремонт...
Амортизатор - «Поли-слов» - Научно-популярный ж...
Продукция
Амортизатор под кабину КамАЗ, МАЗ ГЗАА - Запчас...
Амортизатор КамАЗ,МАЗ Сиденья — Купить Недорого...
Амортизатор кабины МАЗ — Ремавтоснаб
Амортизатор привода акселератора тнвд — Mercede...
Амортизатор МАЗ: важная деталь комфорта минских...
МАЗ показывает новинки автотехники
Какие амортизаторы лучше газомаслянные, масляны...
АМОРТИЗАТОР УСИЛЕННЫЙ МАСЛЯНЫЙ
Масляные и Газомасляные Амортизаторы: Ключевые ...
Какие амортизаторы лучше: газовые или масляные?...
Какие амортизаторы лучше, газовые или масляные ...
Амортизатор ВАЗ на ДНЕПР, УРАЛ. Мой опыт. - You...
Передний амортизатор маз камаз урал купить в Иж...
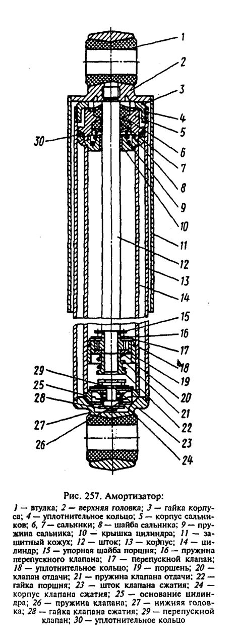
Конструкция и устройство амортизаторов
МАЗ представил футуристичный тягач МАЗ-Х - Рамб...
Амортизатор автомобиля: устройство и принцип ра...
Передние амортизаторы МАЗ - Мазик Бай Оф дилер ...
Что такое "амортизатор"?
Какие амортизаторы лучше и надежнее - газовые, ...
Амортизаторы ПААЗ: эффективно и надежно
Амортизаторы газовые с подкачкой и регулировкой...
запчасти мазда 3, запчасти mazda 3, амортизатор...
Какие амортизаторы лучше масляные, газовые или ...
Амортизаторы автомобиля - зачем нужны и какие б...
Амортизаторы Ваз Фото – Telegraph
Купить Амортизатор МАЗ, УРАЛ-4320, MAN 315/500 ...
Прайс листы
Амортизатор кабины МАЗ, КАМАЗ, ВАЗ-2101, 2121 к...
вопрос по амортизаторам — Сообщество «ГАЗ Волга...