«Рокот-2» прибор управления оповещением | НПО С...
Прибор управления системой речевого оповещения ...
Рокот-2 прибор управления оповещением
РОКОТ-2 прибор управления оповещением. Речевые....
Акустические Системы Рокот 2 – Telegraph
Прибор управления оповещением Сибирский Арсенал...
Пожарная сигнализация рокот 2 инструкция
Рокот-2, вариант К – прибор приемно-контрольный...
прибор управления оповещением РОКОТ - YouTube
Купить Рокот-5 ПУО исп.2 Сибирский Арсенал приб...
Прибор управления оповещением Рокот-2 с микрофо...
Купить Рокот-2 Сибирский Арсенал прибор управле...
Рокот-3 вар. 2 - прибор управления оповещением ...
Рокот-2 прибор управления оповещением - Компани...
Рокот-2 Прибор управления системой речевого опо...
Рокот-4, рокот-4, рокот 4 инструкция, рокот 3 в...
РОКОТ-5 ПУО 100 (РОКОТ-5 ПУО исп.2) прибор упра...
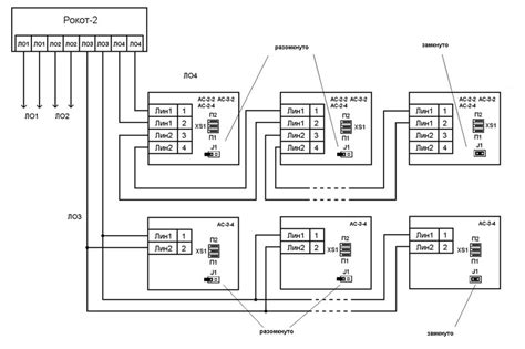
Рокот 2 схема подключения
Рокот – Telegraph
Купить Рокот-Р2 ПУО Сибирский Арсенал прибор уп...
Рокот 2 инструкция – Telegraph
Рокот (Набат) - Прибор управления оповещением С...
Как настроить рокот 2