Чудо-копалка-супер лопата !!!))) - YouTube | El...
Самодельная лопата - YouTube
Общие знания >> Инструменты
Молодая комсомолка - YouTube
грохотная копалка с цепным редуктором для мотоб...
Лопата совкова купити в Києві за вигідною ціною
⭐Лопата совковая с ребрами жесткости ЛСП и чере...
Лопатка силіконова
рапорт комэски комполка
Лопата полуобла с фибродръжка 148 см - Пособия ...
Комсомолка - YouTube Music
ЛОПАТА НА СКЛОПУВАЊЕ СО ФУТРОЛА
Чудо-лопата "Копалка" | Garden tools, Garden to...
ПРОДАНА Немецкая Саперная Лопата (клеймо голова...
Комсомолка — Фото — Водный транспорт
Комсомолка
Комсомолка-спортсменка - YouTube
Русская комолая кладет на лопатки | РосАгро | Дзен
ЛОПАТА-КОМБАЙН | МОДЕЛИСТ-КОНСТРУКТОР
Лопата совкова купити в Дніпрі за вигідною ціно...
⭐Лопата совковая с ребрами жесткости ЛСП из рел...
Túlélések: Komló felhasználása
ТРУБЧАТАЯ ЛОПАТА | МОДЕЛИСТ-КОНСТРУКТОР
ЛОПАТА CONMETALL | Практикер | Oferta.bg
Лопата совковая Finland, Металл купить по выгод...
Лопата совковая с ребрами жесткости ЗУБР МАСТЕР...
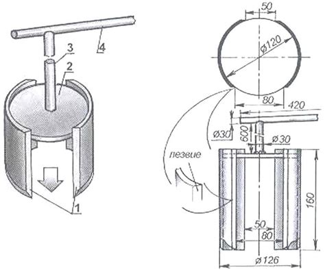
Лопата крот своими руками, чертежи бюджетной ко...
Лопаты купить в Харькове | Опт и розница | ФОРС...
Совковая лопата малая
Супер лопата совковая "Американка". Лопата для ...
Комсомолка - YouTube