Суппорт станка н/у купить в Волгограде цена 800...
Суппорт токарного станка. Устройство и ремонт с...
Суппорт токарного станка по металлу своими руками
Вертикальный мини-суппорт для токарного станка,...
Суппорт станка - купить по доступной цене, прои...
Суппорт токарного станка своими руками Продолже...
Суппорт токарного станка 1П611 купить в Самаре ...
суппорт токарного станка м 63 дип 300 купить в ...
Самодельный суппорт для токарного станка своими...
Суппорт станка С-1 купить в Санкт-Петербурге | ...
Суппорт токарного станка
Суппорт станка 16К20, 1М63, 1К62 купить в Росто...
Суппорт токарного станка 16К20 купить в Украине...
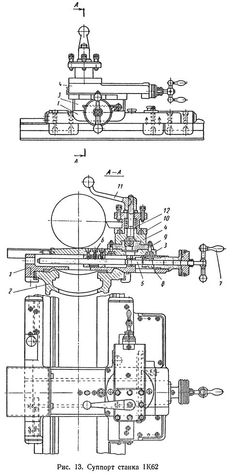
Суппорт токарного станка | Основные узлы токарн...
Устройство и принцип работы суппорта токарного ...
Поперечный суппорт своими руками для самодельно...
Суппорт токарного станка С1 купить в Москве цен...
Суппорт самодельного токарного станка по дереву...